项目管理高手常用的10种图表!
共 1383字,需浏览 3分钟
·
2022-02-09 17:25
项目经理的必备工具可以分为两类,一类是图形/模型(常用的有10种),一类是软件。
常用图形/模型
甘特图:它通过图示的方式表现项目的各项活动及进展情况。
甘特图分为两条轴,横轴表示时间,纵轴表示项目任务,横条表示任务的计划和实际完成情况。
借助甘特图,项目经理可以快速弄清楚项目已经完成了多少任务,还有多少任务待完成,方便把控项目总体进度。

看板图:从日常生活中的看板演化而来的一种图形,目前主要用于敏捷开放。
不同于甘特图,看板图不用时间轴记录项目的各个阶段,而是显示在本次迭代中要完成的所有任务的当前状态。任务用卡片(便笺纸)来代表,状态则由板上分别标有“未做(to-do)”、“正做(doing)”和“做完(done)”的三个区域来代表。
看板图可以帮助团队理解当前做得如何,以及下一步要做什么,让团队能够自我指导。

关系矩阵:是对两个集合之间的某个关系的刻画,能清楚地表明此二集合的任意元素是否有此关系的数字矩阵。
比如你本来属于某职能部门,但你在特定时间里又参加到到某产品(或项目、服务等)中。关系矩阵就是可以描述这类关系的一种数字矩阵。

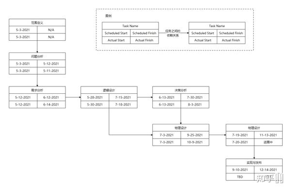
PERT(计划评审技术)图:PERT是利用网络分析制定计划以及对计划予以评价的技术。它能协调整个计划的各道工序,合理安排人力、物力、时间、资金,加速计划的完成。
PERT图和甘特图都是项目管理中非常常用的工具,前者是一个有向图,能清晰地描述子任务之间的依赖关系。而后者虽然能清晰地表示各子任务之间的并行情况,但无法表示子任务之间的依赖关系。

决策分析图:如果在有多个解决方案时又不知道如何选出最优解的时候,你就可以画这种图表,脑子会瞬间好用很多。

状态表:它不包含项目持续时间和任务关系等细节,更注重于项目状态和完成的过程。
项目状态表同时包含了每个任务的执行人,项目负责人可以借此更好地评估每位员工的业绩,知道问题发生时该由谁负责。

WBS(工作结构)分解图:就是把一个项目,按一定的原则分解(分解遵循MECE原则),项目分解成任务,任务再分解成一项项工作,再把一项项工作分配到每个人的日常活动中,直到分解不下去为止。

思维导图:项目准备期梳理细节以及项目结束复盘必备。

HOQ(质量屋):质量管理的常用工具,是驱动整个QFD(质量功能展开)过程的核心。
质量屋一般用于定义顾客预期和公司能力之间的关系。其构造始于分析顾客需求,写在矩阵的行里,矩阵列中是产品或服务的重量特性。矩阵中心和边缘是这组信息的关系,指导新设计的决定。

RACI图:它最大的作用就是在项目进行的过程中,用于记录不同角色之间的责任,其中:
R(Responsible)代表负责执行的人,A(Accountable)代表批准的人、C(Consulted)代表拥有完成项目所需的信息或能力的人员、I(Informed)代表应该被通知的人。

常用软件
以上部分图形图表(比如RACI图、状态表、甘特图等)可以用Excel完成,但如果是思维导图、PERT图、质量屋这类特殊的图形图表,就需要用到专业绘图软件如亿图图示。
亿图图示支持上述10种工具/图形的绘制,每种工具/图形都可以在软件中找到相应的模板以及符号素材。


亿图图示支持多平台,分为PC版(兼容Windows/Mac/Linux)和网页版,感兴趣的小伙伴可以收藏体验下▼
